HelloKitty • 2024-04-03 15:43
5566
本文由 网信中国 撰写/授权提供,转载请注明原出处。
来源:“网信中国”微信公众号

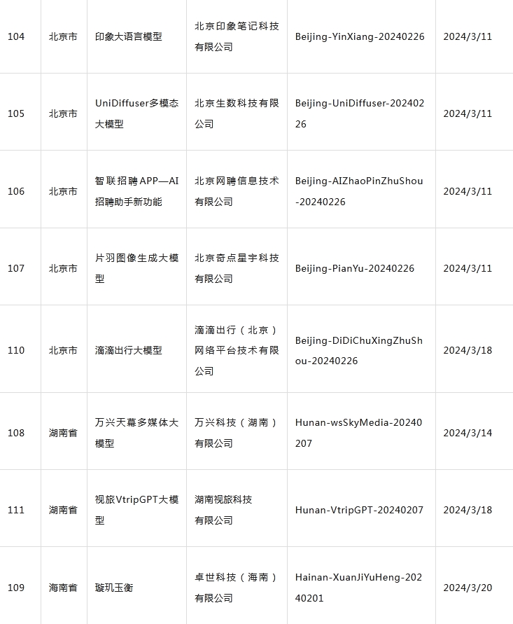
国家网信办发布生成式人工智能服务已备案信息,3 月新增 23 家企业,其中包括爱奇艺 AI 对话产品、滴滴出行大模型等。
国家互联网信息办公室关于发布生成式人工智能服务已备案信息的公告
促进生成式人工智能服务创新发展和规范应用,网信部门会同相关部门按照《生成式人工智能服务管理暂行办法》要求,有序开展生成式人工智能服务备案工作,现将已备案信息予以公告。提供具有舆论属性或者社会动员能力的生成式人工智能服务的,可通过属地网信部门履行备案程序,属地网信部门应及时将已备案信息对外公开发布,我办将在官网定期汇总更新,不再另行公告。
已上线的生成式人工智能应用或功能,应在显著位置或产品详情页面公示所使用已备案生成式人工智能服务情况,注明模型名称及备案号。
附件:生成式人工智能服务已备案信息(定期更新)
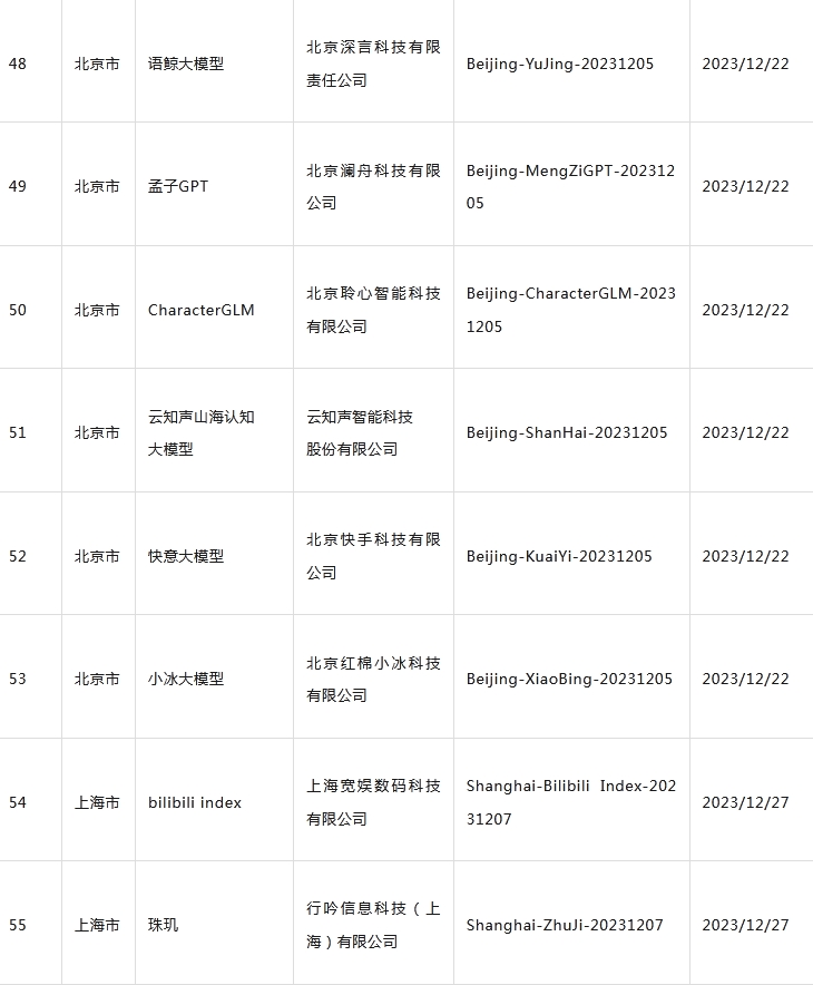
生成式人工智能服务已备案信息(2024 年 3 月)















*插播一条消息:在全球化的时代浪潮中,AI+跨境电商正迎来前所未有的发展机遇,为了让不同领域的企业聚集在一起,展示在AI跨境电商领域的服务和产品,促进行业内的信息流通和合作机会,白鲸跨境与白鲸技术栈正在招募一群富有激情和创造力的伙伴,共同绘制AI+跨境电商的生态图谱!如有感兴趣者,可点击下方链接进行报名。
AI+跨境电商图谱招募令报名链接:https://www.baijing.cn/activity/1636




扫码关注公众号
获取更多技术资讯